

先週、夏が正式に始まりました。皆さんの中には、太陽の光を浴びながらのアクティビティに出かけるのを楽しみにしている方が多すぎて、今週の注目のテクノロジーニュースをチェックする余裕がない方もいらっしゃるかもしれません。そんな皆さんのために、私たちがお手伝いします。最も興味深いテクノロジー関連の出来事をまとめてご紹介します。
ドローンホーム
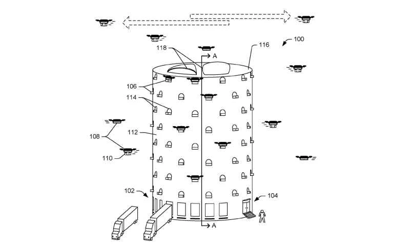
アマゾンの特許により、大規模オフィスビル並みの規模のドローン配送センターを建設する計画が明らかになった。ドローンの巣は都市の中心部に生息し、あらゆる方向にエアホーンで荷物を届ける。確かにSF的で、少々「ディストピア的」な話だが、恐ろしい建造物は進歩とプライム会員の注文を少しでも早く届けるための代償なのかもしれない。
次世代

セガは「セガ フォーエバー」シリーズの一環として、メガドライブの名作ゲームを多数無料配信しています。アプリには広告が表示されますが、1ゲームにつき1.99ドルを支払えば広告なしでプレイできます。最初のラインナップには、 『コミックスゾーンキッド カメレオン』、 『ファンタシースターII』、 『ソニック・ザ・ヘッジホッグ』、そして週末に数時間プレイした『オルタード・ビースト』が含まれています。AndroidとiOSの両方で利用可能です。
暗号通貨の暴落
人気急上昇中の仮想通貨イーサリアム(現在ビットコインと競合)にとって、今週はかなり厳しい状況でした。大手取引所では、価格は1ユニット365ドルから0.10ドルまで急落し、その後再び上昇したと報じられています。この激しい変動により、一部のユーザーは数十万ドルの損失を被った可能性がありますが、取引所は損失の補償を約束しています。仮想通貨の世界では、常に注意が必要です。
オールド・トゥー・アイズ

Googleは、Lenovoおよび新興カメラメーカーのYi Technologyと提携し、VR180プラットフォーム用カメラを開発しています。現時点ではデバイスに関する情報はほとんどありませんが、ウェブサイトに掲載されている線画から、デュアルレンズを備えたコンパクトカメラのようなモデルが1つあることが示唆されています。
患者の守秘義務
Googleは現在、一般公開されている検索結果に表示される可能性のある「個人の機密性の高い医療記録」の削除に積極的に取り組んでいます。これらの情報は、金融データや「リベンジポルノ」と同じく、削除対象となるカテゴリーに加わりました。
バードミーティング

リモートワーカーとして大きな会議に電話で参加するのは、時に気まずいものです。まるでスクービー・ドゥーの悪役のように、壁に掛けられた絵を通して会議の様子を覗き見しているような気分になることもあります。しかし、Owlは360度カメラと円形マイクアレイを使用することで、部屋全体を映し出し、音声で聞くことができます。このプロジェクトは、Androidの共同開発者であるアンディ・ルービン氏が設立したPlaygroundのWest Coast Design Studioから生まれました。
自動運転の衝突
ジョシュア・ブラウンさんは、自動運転モードのテスラ車が時速約110キロでトラックの側面に衝突し、死亡しました。報道によると、運転手は事故前に何度か警告を無視していたとのことです。これは痛ましいニュースですが、人間は自動運転車の実現に長年失敗してきました。
地面は(ほぼ)溶岩

記録的な猛暑が、今週を通して様々な状況に悪影響を及ぼしています。フェニックス発着便が数便欠航となりました。その理由をご説明します。
グラス・ライト
Google Glassに関するニュースが、テクノロジー系ブログの見出しを独占していた時代がありました。しかし今、Googleはヘッドマウントカメラ/コンピューターに3年ぶりの非常にマイナーなアップデートをリリースしました。すぐに復活するとは期待できません。
マップチャット

Snapchatは、「Snap Map」と呼ばれる位置情報サービスを追加しました。ユーザーは自分の位置情報を共有でき、友人はそれをインタラクティブな地図上で視覚的に確認できます。この機能を利用するにはオプトインが必要で、ユーザーが積極的に利用しない限り、追跡されることはありません。
1+5=電話

OnePlus 5スマートフォンは先週、新しいデュアルカメラアレイ(iPhone 7 Plusに搭載されているものと同様のもの)を搭載し、479ドルという低価格で発売された。
今週のムスクの読書
週末、我らが相棒のイーロン・マスクがファルコン9ロケットの打ち上げと着陸に関する興味深い情報をツイートしました。しかし同時に、彼はあの古臭い、ナンセンスなTwitter投票も開始し、なんと9万票近くもの票を集めました。