By記事2026-01-04 民生用ドローンが軍に問題を引き起こしている 米国では80万台以上のドローンが登録されています。そのうち約70%は中国のドローンメーカーDJI製で、同社のPhantomシリーズは趣味向け無人機のモデルTと言えるでしょう。国防総省にとって、これは2つの課題を突きつけています。1つは、安価なドローンの普及が基地の警備に潜在的なリスクをもたらすこと、... 記事
By記事2026-01-04 先週のテクノロジー:頭から離れない「デスパシート」について、あらかじめお詫び申し上げます 真夏のこの時期、ハードガジェット関連のニュースは少なめになりがちです。ホリデーショッピングシーズンに向けて、猛烈な製品ラッシュが始まる前の、ありがたい静けさです。しかし、テクノロジーの世界にはまだまだ話題が尽きません。パイナップルたっぷりのトロピカルドリンクを片手に、先週見逃したかもしれないテクノロ... 記事
By記事2026-01-04 手榴弾を積んだドローンよりも恐ろしいもの 弾薬庫はどこも爆発の危険を孕んでいる。ウクライナ東部では最近、弾薬庫の備蓄が発火し、劇的な映像のように煙と炎が空高く噴き上がった。犯人は?発火物質テルミットを充填した1ポンド手榴弾を搭載した小型ドローンだ。 爆発物が一箇所に集められた弾薬庫は、魅力的な標的となる。攻撃者にとって難しいのは、爆発物を敷... 記事
By記事2026-01-04 ドローン決闘、カリフォルニアが意図せず殺そうとしているスポーツ 世界が真に知る前に、スポーツというカテゴリー全体を消滅させることは可能なのだろうか?カリフォルニア州でドローンを規制する新たな法案には、ドローンスポーツ界全体を消滅させかねない曖昧な一文が含まれている。カリフォルニア州上院法案347号の現行法では、「遠隔操縦航空機を兵器化し、または兵器化された遠隔操... 記事
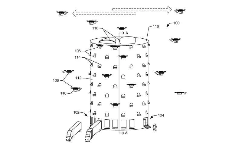
By記事2026-01-04 先週のテクノロジー:アマゾンのドローン配送ハブが登場か <img width="1800" height="1081" loading="lazy" src="/upload/20260104/3fde2a5ba159ef.webp" alt="Amazonドローンハブの特許" class="wp-image-126105" sizes="auto... 記事
By記事2026-01-04 海軍のロボット潜水艦がドローンを発射する様子をご覧ください 水面では、ロボットが水中ロボットと通信し、飛行ロボットの発進を指示します。3機の自律型ロボットが協力して米海軍の偵察活動を行い、自律性、通信機能、そしてセンサーをすべてモバイルロボットに統合したデモンストレーションを行いました。これは驚くべき技術的成果であり、ロボットが水兵と共に働き、戦う未来を予感... 記事
By記事2026-01-04 列車をより安全でスマートにする方法 ニューヨーク・ペンシルベニア駅は北米で最も混雑する鉄道駅です。設備の老朽化による遅延やトラブルにも悩まされています。Flickrユーザー:Connie Ma 電車での旅は、スムーズで何事もなく過ごせることもあるが、全くもって悲惨な旅になることもある。今春、ニューヨーク・ペンシルベニア駅で老朽化した設... 記事
By記事2026-01-04 ドローンの群れが竜巻から私たちを守る方法 今週末、竜巻がアメリカ中西部と南部の大部分を襲いました。十数人が死亡し、被害の跡はテキサス州からメリーランド州まで続いています。竜巻が危険なのは、その威力だけではありません。予測が非常に難しいのも事実です。気象観測所が避難勧告を出すのは、平均してわずか13分前です。しかし、オクラホマ州立大学の機械工... 記事
By記事2026-01-04 ドローンレーシングリーグの新しいRacer3機は時速85マイルで飛行可能 ネオンカラーの飛行機械が、複雑なレースコースを駆け抜け、光り輝くチェックポイントから次のチェックポイントへと飛び移り、空中に筋を描いていく。パイロットたちはVRヘッドセットにストリーミングされた映像を通して遠隔操縦し、快適な空間で快適に飛行する。レースを終わらせるクラッシュによる敗北の屈辱以外、怪我... 記事
By記事2026-01-04 報道:イラン、イエメン反政府勢力向けにドローンの機体に誘導ミサイルを内蔵 先週、コンフリクト・アーマメント・リサーチ(CAR)は、イエメンへのイランの技術移転に関する調査報告書を発表しました。この調査は、イラク北部で拿捕されたドローン、イエメンのアデン国際空港付近に墜落したドローンらしき物体、そしてドローンらしき部品を満載した押収貨物と関連付けられており、奇妙なことに監視... 記事