By記事2026-01-04 VRヘッドセットの見た目がついに改善されるかもしれない VRヘッドセットを装着したままクールに見せるのは難しい。内部の電子部品は進化しているとはいえ、かさばるデバイスは依然として地味な医療機器や奇抜なエイリアンのコスプレ衣装といった印象だ。しかし今朝、HTCはVive Project Protonのコンセプトヘッドセットを発表し、ヘッドセット全体の見た... 記事
By記事2026-01-04 未来の飛行機にはバーチャルリアリティ、ヨガスタジオ、そしてたくさんのカリフラワーが搭載されるだろう <img width="1500" height="988" loading="lazy" src="/upload/20260104/a49db0d778c805.webp" alt="将来の飛行機のレイアウト" class="wp-image-16014" sizes="auto, (ma... 記事
By記事2026-01-04 CES 2019の注目の新ガジェットとテクノロジー 今週はCESの最新情報をお届けしてきましたが、皆さんはできるだけ手間をかけずに最高のコンテンツを見たいと願っているはずです。せっかく見ようと思っていたコンテンツが勝手に見れるなんて、もったいないですよね。そこで、CESのハイライトを簡潔にまとめてみました。クールな最新ガジェットに関するあなたの豊富な... 記事
By記事2026-01-04 CES 2019のテクノロジー関連流行語集 <img width="1000" height="666" loading="lazy" src="/upload/20260104/8df31af8eb8520.webp" alt="触覚" class="wp-image-29248" sizes="auto, (max-width: 1... 記事
By記事2026-01-04 スマートフォンは車に轢かれるのを防げるでしょうか? 道路を渡る前に左右をよく確認していた時代は遠い昔のことです。ほとんどの人は下ばかり見ており、画面の奥深くを絶えず見つめています。わき見歩行はわき見運転ほど危険ではないように思えるかもしれませんが、州知事高速道路安全協会によると、過去4年間の歩行者死亡者数と負傷者数の急増の一因となっている可能性があり... 記事
By記事2026-01-04 AppleとPixarは、スマートフォンの拡張現実(AR)用の新しいファイル形式を開発しました。 パソコンやスマートフォンで写真や動画を共有するのは、ほとんどの場合、とても簡単です。静止画ならJPGやPNG、動画ならMOVといったファイル形式は、ほぼどのデバイスでも意図したとおりに表示されます。拡張現実(AR)、さらには仮想現実(VR)の人気が高まるにつれ、デバイスメーカーやソフトウェアメーカー... 記事
By記事2026-01-04 ディズニーの触覚VRジャケットで雪玉の衝突や蛇の這いずりを体感できる <div class="lazied-youtube-frame" data-video-id="5BOFHEow608" data-start-time="0" data-iframe-classes="wp-block-embed-youtube wp-block-embed is-typ... 記事
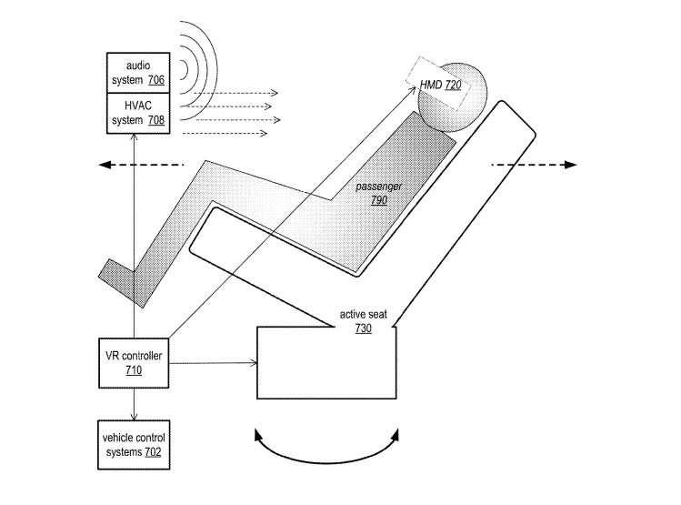
By記事2026-01-04 アップルは、VRヘッドセットを装着することで車内での吐き気を軽減できると考えている 車が自動運転になったら、退屈な乗客はどうやって時間を過ごし、乗り物酔いと戦うのだろうか?窓の外の景色をただ眺める代わりに、仮想現実(VR)のおかげで、日常の風景がシミュレーションされたゾンビで埋め尽くされるかもしれない。これが、VRシステムを自動車に組み込む様々な方法を説明した、Appleの新しい特... 記事
By記事2026-01-04 CES 2018:4日目、ガジェットはますます奇妙になってきた <img width="614" height="442" loading="lazy" src="/upload/20260104/b89e8452f6b02c.webp" alt="CES 2018" class="wp-image-23388" sizes="auto, (max-wid... 記事
By記事2026-01-04 先週のテクノロジー:ネット中立性は損なわれたが、スター・ウォーズは損なわれていない <img width="1100" height="603" loading="lazy" src="/upload/20260104/cbc44600f43801.webp" alt="iPhone X フェイスゲーム" class="wp-image-145329" sizes="auto... 記事